Patentdetails
| >> Übersicht | |
Aktenzeichen: |
DE 10 2012 011 776 A1; EP 2 737 122; USA 14/234,684 |
PDF: |
|
Titel: |
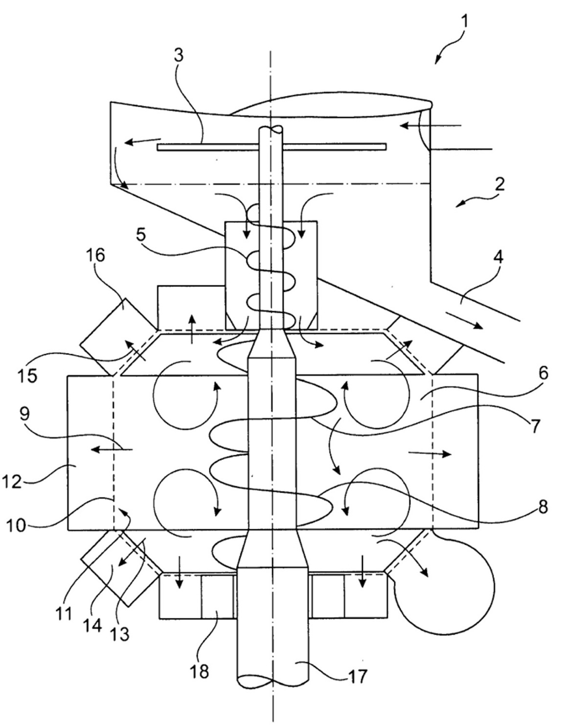
Pulper mit einer Welle und Verfahren zur Behandlung von Verbundmaterialien |
Hauptanspruch: |
Pulper mit einer Welle, auf der eine Spirale angeordnet ist, dadurch gekennzeichnet, dass er eine Welle mit einer gegenläufigen Spirale aufweist |
Suchwort: |
|
Beschreibung: |
|
Skizze: |
![]()
|
Stichwort Liemann-Castell: |
Doppelpulper Deutschland |
Aktenzeichen Liemann-Castell: |
P03507P2 |
Zufinden: |
|
Name: |
COdukte Boltersdorf |
Länder: |
Deutschland |
Erfinder: |
Dipl. Ing. Hans Joachim Boltersdorf |
Anmelder: |
COdukte Boltersdorf |
