Patentdetails
Grünschnittaufbereitung>> Übersicht |
|
Aktenzeichen: |
DE 10 2011 012 191 A1 |
PDF: |
|
Titel: |
Verfahren zur Aufbereitung von Grünschnitt; Method for Processing Biomass |
Hauptanspruch: |
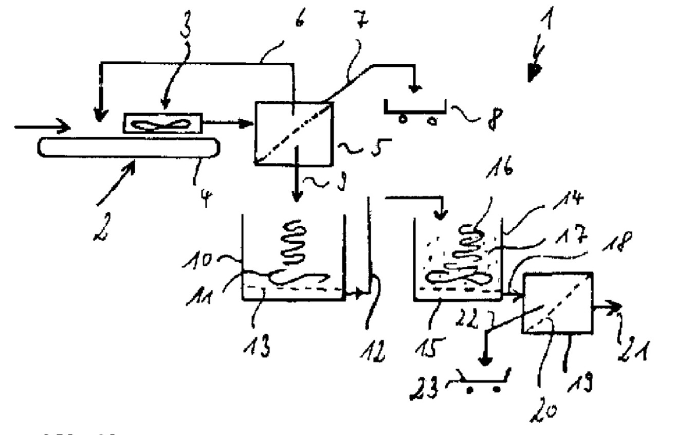
Verfahren zur Aufbereitung von Biomasse, wie insbesondere holzhaltigem Grünschnitt, bei dem die Biomasse in einem kontinuierlich betriebenen, bemesserten Pulper behandelt wird und anschließend die abgetrennten Fasern in einer Pulperkugelmühle gemahlen werden. |
Suchwort: |
|
Beschreibung: |
|
Skizze: |
![]()
|
Stichwort Liemann-Castell: |
Grünschnittaufbereitung |
Aktenzeichen Liemann-Castell: |
P03409DE |
Zufinden: |
|
Name: |
Dipl.-Ing. Hans Joachim Boltersdorf |
Länder: |
Deutschland |
Erfinder: |
Dipl.-Ing. Hans Joachim Boltersdorf |
Anmelder: |
COdukte Boltersdorf |
