Patentdetails
Pulper mit Drucksortierfunktion>> Übersicht |
|
Aktenzeichen: |
DE 10 2012 023 258 A1, EP 2 825 697 |
PDF: |
|
Titel: |
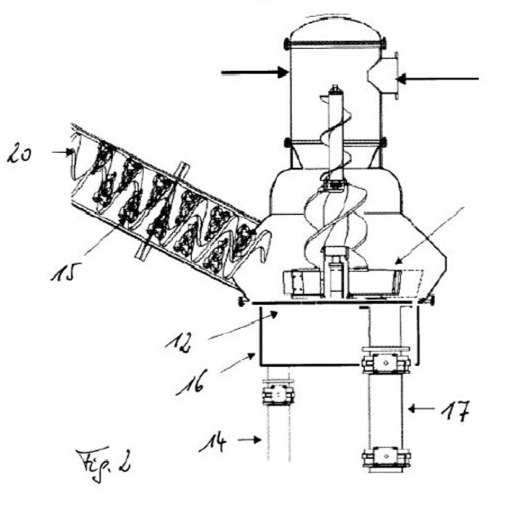
Aufbereiter mit einem geschlossenen Gefäß, das unter Druck setzbar ist |
Hauptanspruch: |
Aufbereiter mit einem geschlossenen Gefäß, das unter Druck setzbar ist und einen oberen Bereich mit einem kleineren Durchmesser und einen unteren Bereich mit einem größeren Durchmesser aufweist, wobei der obere Bereich eine kleine Spirale und der untere Bereich eine 5 große Spirale aufweist, wobei wiederum im oberen Bereich ein Zugang für Stoffe und einer für Wasser angeordnet ist und im unteren Bereich ein Schwerteilefang. |
Suchwort: |
|
Beschreibung: |
|
Skizze: |
![]()
|
Stichwort Liemann-Castell: |
|
Aktenzeichen Liemann-Castell: |
P03656EP |
Zufinden: |
|
Name: |
Dipl.-Ing. Hans-Joachim Boltersdorf |
Länder: |
Deutschland, EPA Länder |
Erfinder: |
Dipl.-Ing. Hans-Joachim Boltersdorf |
Anmelder: |
Codukte Boltersdorf |
