Patentdetails
Sammeleinrichtung>> Übersicht |
|
Aktenzeichen: |
EP 2551 404 A1 |
PDF: |
|
Titel: |
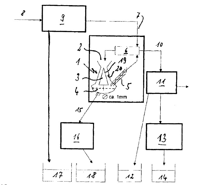
Pulper zum Recyceln eines Gemenges |
Hauptanspruch: |
Pulper, dadurch gekennzeichnet, dass oberhalb des Lochblechs eine Entnahmeeinrichtung angeordnet ist, die mit einer Sammeleinrichtung verbunden ist, die mit einer Eintragsöffnung des Pulpers in Verbindung steht. |
Suchwort: |
|
Beschreibung: |
|
Skizze: |
![]()
|
Stichwort Liemann-Castell: |
Sammeleinrichtung |
Aktenzeichen Liemann-Castell: |
P02647 EPT1 |
Zufinden: |
|
Name: |
Dipl.-Ing. Hans Joachim Boltersdorf |
Länder: |
Deutschland, Niederlande, Finnland, Großbritannien, Italien, Spanien, Dänemark, Schweiz, Österreich und Belgien |
Erfinder: |
Dipl.-Ing. Hans Joachim Boltersdorf |
Anmelder: |
COdukte Boltersdorf |
