Patentdetails
Schwimm-Sink-Sortierer>> Übersicht |
|
Aktenzeichen: |
DE 19833580 A1 |
PDF: |
|
Titel: |
Anlage zur Gewinnung von Faserstoffen und anderen Wertstoffen aus Rejekten. |
Hauptanspruch: |
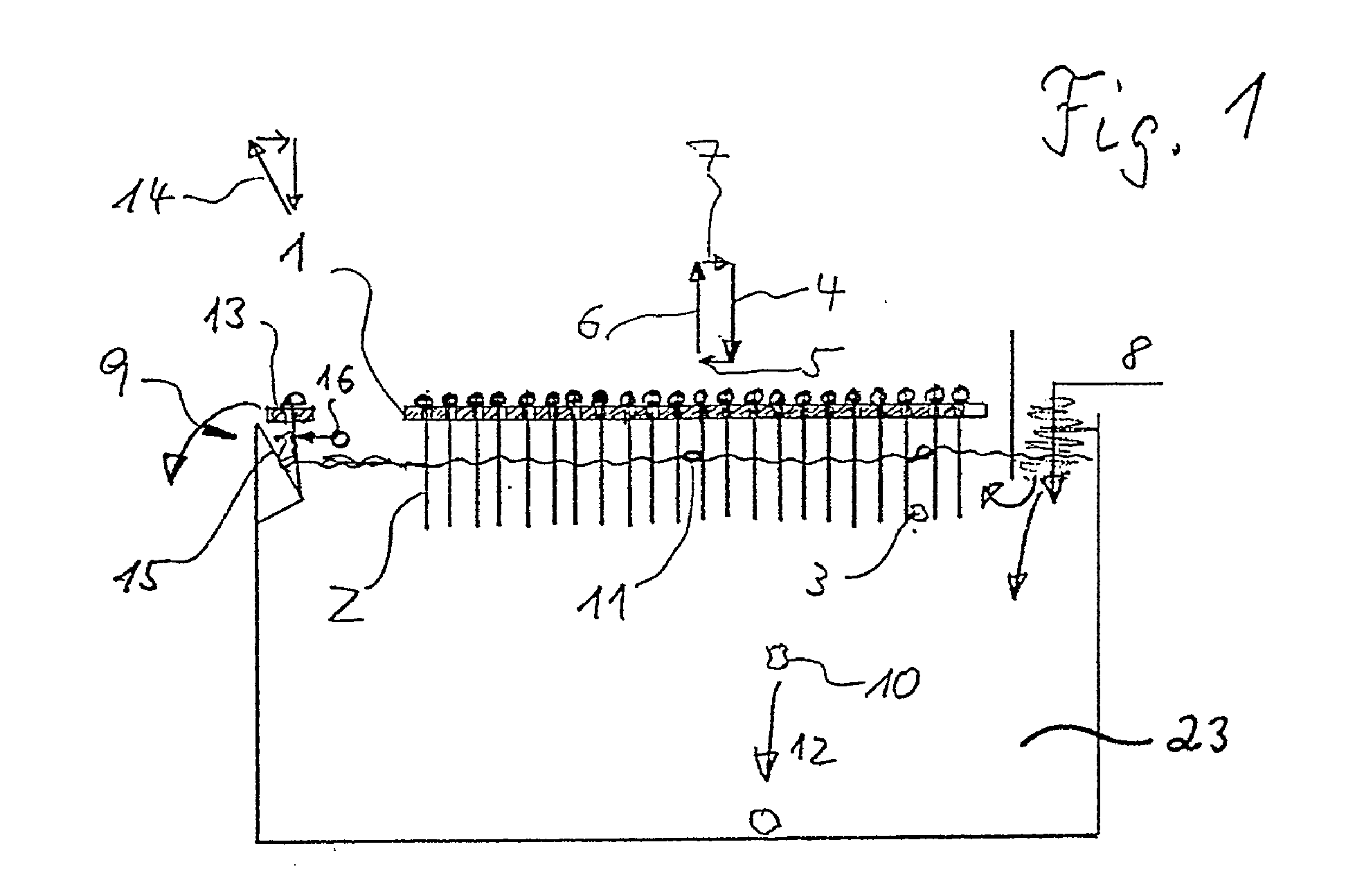
Vorrichtung zum Trennen schwimmfähiger Stoffe (11) von Sinkstoffen (10; 12) mit einem Antrieb zum Antreiben der Stoffe (10; 11; 12) in einer Flüssigkeit (23), dadurch gekennzeichnet, dass der Antrieb wenigstens eine Baugruppe (2;2) umfasst, die mit einer senkrecht zur Flüssigkeitsoberfläche gerichteten Komponente (4; 6) bewegt wird und die eine im wesentlichen senkrecht zur Flüssigkeitsoberfläche gerichtete Oberfläche aufweist. |
Suchwort: |
Schwimm-Sink-Sortierer |
Beschreibung: |
Schwimm-Sink-Sortierer System Nagelbrett |
Skizze: |
![]()
|
Stichwort Liemann-Castell: |
Nagelbrett II |
Aktenzeichen Liemann-Castell: |
P01124 |
Zufinden: |
Unter Depatisnet |
Name: |
COdukte Boltersdorf |
Länder: |
Deutschland |
Erfinder: |
Dipl.-Ing. Hans Joachim Boltersdorf |
Anmelder: |
COdukte Boltersdorf |
